背景技術
由于鎳礦粉不能直接加入礦熱爐進行冶煉鎳鐵合金,必須先進行鎳礦粉燒結,燒結是一個預還原過程,同時具有干燥原礦的作用,鎳礦粉與石灰粉、煙煤粉按一定比例進行攪拌,混合均勻后,由攪拌機出口端經膠帶輸送機運送至回轉窯上料料倉,經加料管直接加入至回轉窯內進行燒結。由于鎳礦粉與石灰粉、煙煤粉的混合料粉經加料管直接加入至回轉窯內進行燒結,加料管與回轉窯入口處沒有煙氣阻擋設備,因而燒結產生的 500 度以上高溫煙氣直接進入到加料管,造成加料管過熱燒穿,并且大量的煙氣也阻礙混合料粉順利下降進入回轉窯內。
因此,現有鎳礦粉與石灰粉、煙煤粉的混合料粉加入方式存在設備安全隱患等問題,必須對現有混合料粉加入方式進行改造。
針對現有混合料粉加入方式存在的上述問題,而提供生產方式先進、生產效率高、安全穩定及結構簡單實用的一種回轉窯燒結鎳礦粉所用的旋轉下料裝置。

技術方案
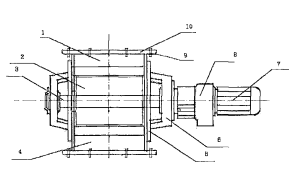
豫暉公司經過細心研究和生產實踐,推出一種回轉窯燒結鎳礦粉所用的旋轉下料裝置,如上圖,其特征在于由上料口、下料旋轉板、轉軸、下料口、外殼、支撐架、電機、減速機、緊固螺栓、矩形法蘭、弧形內襯板組成;混合料粉可以通過下料旋轉板旋轉下料,同時煙氣被阻擋在回轉窯內,電機和減速機控制下料旋轉板的旋轉速度,從而調控粉料加入量。
附圖編號
1.上料口;2.下料旋轉板;3.轉軸;4.下料口;5.外殼;6.支撐架;7.電機;8. 減速機;9.緊固螺栓;10.矩形法蘭;11.弧形內襯板。
優點和效果
1、生產過程中混合料粉穩定可控,提高了生產效率。
2、高溫煙氣被阻擋在回轉窯內,因而保證加料管的安全。
3、本裝置設備工作可靠,能夠長期無故障作業,結構緊湊輕便,運行穩定,操作簡便且運行費用低。